
公募基金Top50重仓股:科技成长与高端制造核心方向 超千只基金持有宁德时代、中际旭创、紫金矿业
摘要:国际金价持续暴涨突破5000美元关口,黄金股上演涨停潮。随着近段时间以来国际金价不断跳涨并且频频创新高,黄金股已经成为现阶段A股市场的热点风口。在周一黄金股上演批量涨停潮的大背景下,股价尚未明显启动的金矿资源股或具备相当大的补涨空间。
信钰配资起首:机构之家
云南红塔银行(以下简称“红塔银行”)保管了近十年的股权结构结识性,如今已是“嗟叹良深”。
机构之家瞩目到,一则高达14.52%比例的红塔银行股权,现于昆明连合产权来回平台之中,认为9.1455亿股,挂牌价则高达10.2亿元。这次转让方指向该行第四大鼓吹——昆明产业投资开发株连有限公司(以下简称“昆明产投”)。而把柄挂牌总价和对应股数计较每股1.116元,把柄该行2025年三季度金钱欠债表计较每股净金钱为2.19元/股,由此可见,昆明产投这次股权转让价对应PB估值为0.51倍,大幅破净。
算作背靠昆明市国资委的产投平台,昆明产投如今已是谋划压力突显;与此同期,而红塔银行本身功绩也并非乐不雅,更是对这次转让落地,增添了一点不笃信性。
图片系红塔14.52%股权拟挂牌转让;贵寓起首:昆明连合产权来回平台
十年股权结识性或遭突破、昆明产投本身“伤疤累累”
算作红塔银行的历久鼓吹之一,昆明产投于红塔银行2015年引入香烟系计谋鼓吹(云南合和、中国香烟云南公司、中国双维投资)时,对该行股权进一步加码。松手2015年末,昆明产投捏股占比高达14.52%,位列该行第四大鼓吹。这一股权容貌,基本已延续于今,从而为红塔银行多年谋划提供系统性保险。
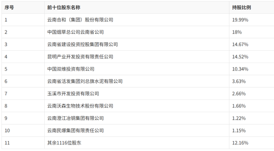
表格系红塔银行股权结构情况;贵寓起首:昆明连合产权来回平台
现如今,昆明产投的谋划压力则是日新月异。
算作含着“国资”金钥匙出身,且主要从事地皮开发和基础要领建设等业务的投资平台,昆明产投近几年利润表明晰将其窘境展现:自2020年功绩高点之后,公司生意收入已运动三年下滑(2022年至2024年分辩下落15.1%、17.7%和39.5%),收入界限坚决腰斩。2025年前三季度,这一势头并未得以扭转:其生意收入陆续下滑18.8%至28.38亿元。与此同期,公司盈利才气则大幅疏忽:归母净利润在运动两年“缩水”后(2023年和2024年分辩下落18.6%、50.1%),2025年前三季度陆续下落,同比减17.3%至1.19亿元。而在企业预警通网站上,昆明产投还被标注为“被试验东谈主”、“适度高消耗”等,请示着公司谋划风险。举例,在近一年中昆明产投已有1条被试验东谈主记载,配资门户网被试验总金额高达14.4亿元。
表格系昆明产投近几年谋划情况;贵寓起首:企业预警通
图片系昆明产投被标注情况;贵寓起首:企业预警通
值得善良的是,本次大额股权还对受让者建立了一系列门槛——在关连禀赋方面有着严格要求。从受让方要求来看,其需相宜现行一系列法律礼貌,机构法东谈主还需知足盈利性、杠杠、内控、评级等多维度要求。本次转让还明确不领受连合受让,不得领受委用或信赖等表情参与来回,这意味着受让方将单独直面高达10亿元的金额门槛。
表格系本次股权受让方资历要求;贵寓起首:昆明连合产权来回平台
红塔银行功绩周折难前、金钱质料承压
而除了金额、禀赋等门槛除外,算作来回观点红塔银行股权,其较为疲弱的功绩弘扬,或裁减了这次潜在来回的眩惑力。
把柄wind数据露出,2025年前三季度,红塔银行完了生意收入12.8亿元,同比下落10.9%、较上半年0.06%的正增长大幅“变脸”;前三季度完了归母净利润4.0亿元,同比仅增1.8%,增长也呈边缘减慢之势(上半年增长6.8%)。值得善良的是,前三季度该行拨备前利润为5.8亿元,降幅更是高达26.9%,指向未计划减值拨备前盈利情况大幅承压。
进一步来看,前三季度红塔银行收入端则呈现出净利息收入和投资收益双重“受挫”近况:在净息差进一步下滑至1.03%配景下,算作中枢的利息净收入同比下滑3.7%至10.7亿元;其他非息收入更是同比下滑44.3%至1.71亿元,体现债市沟通周期中该行投资弘扬的不结识性。从资本端来看,2025年前三季度,红塔银行资本收入比已高至49.8%,远高于监管合意水平,从而进一步侵蚀该行盈利端弘扬。
拉长技艺线,自2019年红塔银行生意收入突破20亿元以来,其收入端界限历久“周折难前”:尤其是在2023年,该行生意收入大幅回调15.9%,落至19.1亿元。盈利端弘扬则是大幅缩水:在历经多年增长后,该行归母净利润于2023年大幅下滑46.3%至5.0亿。在而后的弱劝诱年份中,则难现过去光泽。而与功绩周折相对应的,则是该行捏续加大的金钱质料压力:不良率筹画从2021年末的0.56%高潮至2024年末的1.39%,已大幅翻倍;同期善良类贷款占比则从1.09%栽种至2.07%,对应幅度98BP,两者共同落成高达3.46%的广义不良水平。
图片系红塔银行2020年至2024年收入端和盈利端弘扬(亿元);贵寓起首:wind
海量资讯、精确解读,尽在新浪财经APP
株连裁剪:曹睿潼 九牛网配资
启盈优配星速优配光控资本翔云优配信钰证券10大配资公司提示:文章来自网络,不代表本站观点。